Home
List your patent
My account
Help
Support us
Low Emmission Full Mouth X-Ray Apparatus
[Category : - OTHER]
[Viewed 19 times]
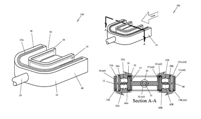
The apparatus the present invention provides the ability to take an x-ray image of an entire mouth in one exposure while significantly reducing the amount of escaped x-ray energy. This is accomplished by using a full mouth insert that has slots for two strips of film, one for the upper set of teeth and one for the lower set of teeth, or an embedded imaging sensor.
One X-ray, Full Mouth
Radiation reduction and complete x-rays in one picture
Going to the dentist is a medical necessity, and annual or bi-annual x-rays are standard procedure to ensure good dental hygiene. But, if you go regularly, despite the low-dose radiation in modern dentistry, you can still expect a dozen or more exposures in a year.
This low-emission tool allows your dental professional to get high quality pictures and dramatically reduce your radiation exposure.
How it works:
1) The simple tool connects directly to the equipment already in your dentist’s office.
2) X-rays are directed from the inside of your mouth outward through your teeth.
3) Adult and children’s sizes are available.
4) No retaking of x-rays, due to patient movement is needed.
5) Goes in your mouth just like a sports mouthpiece.
Benefits:
? Simple and easy to use
? Very comfortable. No more pinched gums and biting down
? Eliminates patient movement that interferes with good pictures
? Inexpensive to own and operate
? Works with film already available.
Financial informationOne X-ray, Full Mouth
Radiation reduction and complete x-rays in one picture
Going to the dentist is a medical necessity, and annual or bi-annual x-rays are standard procedure to ensure good dental hygiene. But, if you go regularly, despite the low-dose radiation in modern dentistry, you can still expect a dozen or more exposures in a year.
This low-emission tool allows your dental professional to get high quality pictures and dramatically reduce your radiation exposure.
How it works:
1) The simple tool connects directly to the equipment already in your dentist’s office.
2) X-rays are directed from the inside of your mouth outward through your teeth.
3) Adult and children’s sizes are available.
4) No retaking of x-rays, due to patient movement is needed.
5) Goes in your mouth just like a sports mouthpiece.
Benefits:
? Simple and easy to use
? Very comfortable. No more pinched gums and biting down
? Eliminates patient movement that interferes with good pictures
? Inexpensive to own and operate
? Works with film already available.
Asking price:
Make an offer





[ Home
| List a patent
| Manage your account
| F.A.Q.|Terms of use
| Contact us]
Copyright PatentAuction.com 2004-2017
Page created at 2025-11-29 22:38:33, Patent Auction Time.