Home
List your patent
My account
Help
Support us
An extinguishing system and an extinguishing method - pool
[Category : - Life-saving; Fire-fighting]
[Viewed 96 times]
The invention relates generally to extinguishing technology. More particularly, the invention relates to an extinguishing device that can be used for extinguishing e.g. a fire in a battery of an electric or hybrid truck.
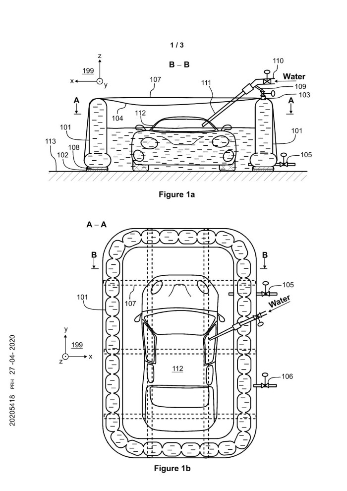
An extinguishing system comprises a wall element (101) for surrounding an object (112) on fire. The object can be for example an electric or hybrid car that comprises a battery. A lower edge of the wall element is configured to provide a sealed joint between the lower edge of the wall element and a surface (113) on which the object on fire is located. The wall element and the surface constitute a pool that can be filled with firefighting water to extinguish the fire in the object.
European patent (EP) has been granted, EP 4142892
A patent application has been filed and is currently pending in the United States.
For more information, please see the Finnish Patent and Registration Office's patent information service:
LinkFinancial informationSale
Asking price:
Make an offer



[ Home
| List a patent
| Manage your account
| F.A.Q.|Terms of use
| Contact us]
Copyright PatentAuction.com 2004-2017
Page created at 2026-01-11 14:05:34, Patent Auction Time.